Příslušenství a spotřební materiál
-
Záruka 5 let
Prodloužená záruka na 5 let
Platí pro 1 spotřebič. Certifikát lze zakoupit v průběhu jednoho roku po zakoupení přístroje.
3 990 Kč * K dispozici -
Záruka 10 let
Prodloužená záruka na 10 let
Platí pro 1 spotřebič. Certifikát lze zakoupit v průběhu jednoho roku po zakoupení přístroje.
8 490 Kč * K dispozici -
KMTS 5704-2
Nádobí Miele KMTS 5704-2 Startovací sada Fiskars All Steel (4dílná)
Nerezové nádobí s matně kartáčovaným povrchem exkluzivně pro Miele
9 990 Kč * Skladem v Miele -
HUB 5001 M
Pekáč Miele HUB 5001 M na indukci
Pekáč Gourmet k indukčnímu vaření, pečení, smažení a gratinování. Nelze na plyn.
7 590 Kč * Do 3 prac. dní -
HBD 60-22
Poklice na pekáč Miele HBD 60-22
Poklice na pekáče Gourmet Miele HUB 62-22, 5000 M a 5001 M
3 290 Kč * Do 5 prac. dní -
DKF 1000-R
Filtr Miele DKF 1000-R
Filtr Longlife AirClean s možností regenerace pro CombiSet přístroje CSDA a KMDA. Proti nepříjemným pachům v kuchyni.
7 190 Kč * Do 5 prac. dní -
Žiletka
Miele GP GSB KM 0101 M Náhradní žiletky, 10 ks pro čisticí škrabku
Náhradní náplň pro čisticí škrabku na čištění sklokeramických desek
490 Kč * Skladem -
Škrabka
Miele GP GS KM 0011 M Čisticí škrabka pro sklokeramické varné desky
Škrabka pro snadné odstranění přischlých zbytků jídel bez poškození povrchu
490 Kč * Skladem -
GGRP
Grilovací deska Gourmet Miele GGRP
Grilovací deska Gourmet umožňuje jedinečný zážitek z grilování na indukčních varných deskách Miele
6 990 Kč * Do 5 prac. dní
-
Bezpečnostní vypínání
Chytré: pokud se některá z varných zón zahřívá nezvykle dlouho, dojde k jejímu automatickému vypnutí.
Více informací -
Blokovací funkce a zablokování zprovoznění
Mimořádně užitečné: obě funkce zabraňují nechtěnému zásahu do varné desky.
Více informací -
Ochrana proti přehřátí a chybová hlášení
Šetří varnou desku: Při extrémním zatížení se varná zóna automaticky vypne.
Více informací
-
ECO motor
Účinný a tichý: stejnosměrný motor s úsporou energie až 70 % v porovnání s běžnými ventilátory.
Více informací
-
Con@ctivity 2.0
Inovativní a pohodlné: odsávač par automaticky reaguje na nastavení na varné desce.
Více informací -
Indukční varné desky PowerFlex
Mnohostranné a flexibilní: rychle a snadno ohřejete i velké nádobí.
Zobrazit všechny produkty s touto funkcí Více informací -
Stop & Go
Nic se nepřipálí: Pomocí této funkce redukujete výkon všech varných zón současně na stupeň 1.
Zobrazit všechny produkty s touto funkcí Více informací -
Individuální možnosti nastavení
Naprosto jedinečné: základní nastavení varné desky si můžete přizpůsobit podle vlastních představ.
Více informací -
Timer
Opravdu smysluplné: pomocí této funkce si můžete nastavit např. kuchyňský budík
Zobrazit všechny produkty s touto funkcí Více informací -
Funkce recall
S paměťovou funkcí: při neúmyslném vypnutí se nastavení uloží na 10 vteřin.
Více informací -
Ochrana při utírání
Bezpečná čistota: při aktivaci se ovládání na 20 vteřin zablokuje, abyste rychle mohli setřít případné nečistoty.
Více informací -
TwinBooster
Jedinečná flexibilita: výkon indukce můžete jakkoliv rozdělit, například soustředěním pouze do jediné zóny.
Více informací
-
Udržování teploty
Připraveno k servírování: funkce udržování teploty reguluje teplotu ve dně hrnce tak, aby se nic nepřipálilo.
Více informací
-
Trvalé rozpoznání hrnce
Automatická aktivace číselné řady: při zapnutí je již umístěné nádobí na vaření ihned rozpoznáno.
Více informací
-
Filtr AirClean Longlife
Efektivní zachycování zápachu: díky voštinovému tvaru filtru z aktivního uhlí, který lze regenerovat v troubě.
Více informací -
Miele CleanCover
Ochrana a snadné čištění: díky uzavřené hladké ploše se nedostanete do kontaktu s elektrikou ani motorem.
Více informací -
Nerezové tukové filtry
Snadná údržba: kvalitní kovové tukové filtry můžete mýt v myčce nádobí a mají velmi dlouhou životnost.
Více informací
|
Úspornost
|
|
|---|---|
| Energetická třída | A++ |
|
Bezpečnost
|
|
|---|---|
| Bezpečnostní vypínání | Ano |
| Blokovací funkce | Ano |
| Chybová hlášení | Ano |
| Indikace zbytkového tepla | Ano |
| Ochrana proti přehřátí | Ano |
| Zablokování zprovoznění | Ano |
|
Chytrá domácnost
|
|
| Automatická funkce Con@ctivity | Ano |
| Miele@home | Ano |
| Miele@mobile | Ano |
|
Design
|
|
| Barva displeje | Žlutá |
| Barva sklokeramiky | Černá |
| Bez rámu pro zapuštění | Ano |
| Bez rámu se zabroušením | Ano |
| Elegantní sklokeramický povrch | Ano |
|
Dodávané příslušenství
|
|
| Připojovací kabel | Ano |
|
Hospodárnost
|
|
| Roční spotřeba el. energie v kWh | 31,2 |
| Třída energetické účinnosti | A++ |
| Třída účinnosti odlučování tuku | A |
| Třída účinnosti proudění tekutin | A |
|
Indikace
|
|
| Digitální indikace stupňů výkonu | Ano |
|
Komfort při obsluze
|
|
| Automatické vypínání | Ano |
| Automatika předvaření | Ano |
| Doběh 5/15 min. | Ano |
| Funkce Stop&Go | Ano |
| Indikace nasycení aktivních uhlíkových filtrů | Ano |
| Indikace nasycení tukových filtrů | Ano |
| Individuální možnosti nastavení (např. signální tóny) | Ano |
| Kuchyňský budík | Ano |
| Paměťová funkce | Ano |
| Permanentní rozpoznání hrnce | Ano |
| Udržování teploty | Ano |
|
Komfort při údržbě
|
|
| Ochrana při utírání | Ano |
| Snadná údržba sklokeramiky | Ano |
| Snadné čištění vnitřního prostoru odsávače CleanCover | Ano |
|
Provedení
|
|
| Indukční varná deska s integrovaným odsavačem par | Ano |
|
Provozní způsoby
|
|
| Způsob vedení vzduchu | s možností přestavby |
|
Systém filtrů
|
|
| Nerezové tukové filtry vhodné do myčky | Ano |
|
Technické údaje
|
|
| Celkový příkon v kW | 7.500 |
| Délka elektrického vedení v m | 2 |
| Frekvence v Hz | 50-60 |
| Hmotnost v kg | 20 |
| Napětí ve V | 230 |
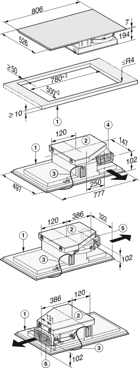
| Rozměry v mm (hloubka) | 526 |
| Rozměry v mm (šířka) | 806 |
| Rozměry v mm (výška) | 200 |
| Rozměry výřezu v mm (hloubka) | 500-524 |
| Rozměry výřezu v mm (šířka) | 804 |
| Vestavná výška se svorkovnicí v mm | 194 |
|
Varná zóna vlevo a vpravo
|
|
| Booster ve W vlevo a vpravo | 4800 |
| Průměr v mm vlevo a vpravo | 230x460 |
| TwinBooster ve W vlevo a vpravo | 7300 |
| Výkon ve W vlevo a vpravo | 3400 |
|
Varné zóny PowerFlex
|
|
| Booster ve W zóny PowerFlex | 3000 |
| Počet zón PowerFlex | 4 |
| Průměr v mm zóny PowerFlex | 150x230 |
| TwinBooster ve W zóny PowerFlex | 3650 |
| Výkon ve W zóny PowerFlex | 2100 |
|
Vybavení varných zón
|
|
| Počet varných zón | 4 |
|
Výkon pro cirkulační provoz
|
|
| Akustický tlak intenzivní stupeň (dB(A)re 20µPa) dle EN 60704-2-13 c | 62 |
| Akustický tlak stupeň 1 (dB(A)re 20µPa) dle EN 60704-2-13 c | 29 |
| Akustický tlak stupeň 2 (dB(A)re 20µPa) dle EN 60704-2-13 c | 47 |
| Akustický tlak stupeň 3 (dB(A)re 20µPa) dle EN 60704-2-13 c | 56 |
| Akustický výkon intenzivní stupeň (dB(A)re 1pW) dle EN 60704-3 c | 70 |
| Akustický výkon stupeň 1 (dB(A) re 1pW) dle EN 60704-3 c | 43 |
| Akustický výkon stupeň 2 (dB(A) re 1pW) dle EN 60704-3 c | 60 |
| Akustický výkon stupeň 3 (dB(A) re 1pW) dle EN 60704-3 c | 70 |
| Výkon intenzivní stupeň (m³/h)dle EN 61591 c | 510 |
| Výkon stupeň 1 (m³/h) dle EN 61591 c | 105 |
| Výkon stupeň 2 (m³/h) dle EN 61591 c | 255 |
| Výkon stupeň 3 (m³/h) dle EN 61591 c | 410 |
|
Výkon při maximálním průměru odtahu
|
|
| Akustický tlak intenzivní stupeň (dB(A)re 20µPa) dle EN 60704-2-13 | 60 |
| Akustický tlak stupeň 1 (dB(A)re 20µPa) dle EN 60704-2-13 | 34 |
| Akustický tlak stupeň 2 (dB(A)re 20µPa) dle EN 60704-2-13 | 48 |
| Akustický tlak stupeň 3 (dB(A)re 20µPa) dle EN 60704-2-13 | 56 |
| Akustický výkon intenzivní stupeň (dB(A)re 1pW) dle EN 60704-3 | 75 |
| Akustický výkon stupeň 1 (dB(A) re 1pW) dle EN 60704-3 | 49 |
| Akustický výkon stupeň 2 (dB(A) re 1pW) dle EN 60704-3 | 62 |
| Akustický výkon stupeň 3 (dB(A) re 1pW) dle EN 60704-3 | 71 |
| Výkon intenzivní stupeň (m³/h)dle EN 61591 | 580 |
| Výkon stupeň 1 (m³/h) dle EN 61591 | 160 |
| Výkon stupeň 2 (m³/h) dle EN 61591 | 330 |
| Výkon stupeň 3 (m³/h) dle EN 61591 | 490 |
Ke stažení - Indukční deska MIELE KMDA 7476 FR
| Popis | Formát | Stažení |
|---|---|---|
| Energetický štítek (formát PDF) | Stáhnout | |
| Energetický štítek (formát PNG) | png | Stáhnout |
| Informační list | Stáhnout | |
| Návod k použití | Stáhnout | |
| Online štítek | jpg | Stáhnout |
| Rozměrový nákres 1 | jpg | Stáhnout |
| ZIP-archiv s 3D formátem DWG | zip | Stáhnout |
| ZIP-archiv s 3D formátem FBX | zip | Stáhnout |
| ZIP-archiv s 3D formátem IFC | zip | Stáhnout |
| ZIP-archiv s 3D formátem RFA | zip | Stáhnout |
| ZIP-archiv s 3D formátem RVT | zip | Stáhnout |
Miele Center Vlášek
Showroom Miele najdete na adrese
Mrštíkova 2140/11 v Hradci Králové
nedaleko OC Futurum.
Proč nakoupit u nás
Jsme dlouhodobý a stabilní prodejce, již 24 let na trhu.
Dopravu a instalaci spotřebičů Miele máme po celé ČR zdarma.
Máme kamenný obchod v Hradci Králové.
Naprostou většinu zboží máme skladem.
-
Pracovní dny 9:00–18:00 Showroom Mrštíkova 2140/11, Hradec Králové
-
+420 777 922 700
(po-ne, 8:00 - 22:00) -
info@elektrovlasek.cz
Většinou odpovídáme do 2 hodin













