Příslušenství a spotřební materiál
-
Utěrka Sada
Sada utěrek Miele MicroCloth, 3 ks
Pro ty nejlepší výsledky čištění a bezpečné použití
390 Kč * Skladem -
Utěrka MicroCloth
Víceúčelová utěrka z mikrovlákna, 1 kus
Pro ty nejlepší výsledky čištění a bezpečné použití
270 Kč * Skladem
-
MasterCool – panty MaxLoad
Silné a stabilní: vysoce zatížitelné panty pro snadné otvírání velkých dveří.
Více informací
-
MasterCool - BrilliantLight
Jemné a příjemné: kvalitní LED lišty zajistí optimální osvětlení a příjemnou světelnou atmosféru.
Více informací -
DynaCool
Rovnoměrné rozdělení teploty: ventilátor zajistí optimální cirkulaci a rozptýlení studeného vzduchu.
Více informací -
Push2open
Jedinečné: dokonalá integrace do kuchyní bez rukojetí, dvířka se otevřou automaticky zatlačením na čelní stěnu
Více informací -
Chytrá domácnost s Miele@home
Ať už doma nebo na cestách – Vaše domácí přístroje ovládáte odkudkoliv a flexibilně tak utváříte svůj všední den.
Více informací -
MasterCool – MasterSensor
Velmi komfortní: nejrůznější nastavení mohou být prováděna pohodlně dotykem prstu.
Zobrazit produkty s touto funkcí Více informací
-
Filtr Active AirClean
Nefalšované aroma: kombinace aktivního uhlí a přírodního chitosanu efektivně neutralizuje nežádoucí pachy.
Více informací
-
MasterCool – MasterFresh
Optimální klima: potraviny vydrží díky perfektní teplotě a vlhkosti až 3x déle čerstvé.
Více informací
|
Úspornost
|
|
|---|---|
| Energetická třída | E |
|
Bezpečnost
|
|
|---|---|
| Akustický alarm při otevřených dvířkách | Ano |
| Akustický alarm při změně teploty | Ano |
| Optický alarm při otevřených dvířkách | Ano |
| Optický alarm při změně teploty | Ano |
| Zablokování | Ano |
|
Chladnička/chladicí zóna
|
|
| Ochrana před přetečením | Ano |
| Počet přihrádek na čerstvé potraviny | 2 |
| Počet VeggieBoxů | 1 |
| Police na konzervy ve dvířkách | 1 |
| Police na láhve ve dvířkách | 3 |
| SlidingShelf | Ano |
| Výškově nastavitelné odkládací plochy z bezpečnostního skla | 2 |
|
Chytrá domácnost
|
|
| Miele@home | Ano |
|
Design
|
|
| Druh osvětlení | Osvětlení BrilliantLight |
|
Dvířka přístroje
|
|
| Závěs dvířek | vpravo |
| Závěs dvířek měnitelný | Ano |
|
Hospodárnost
|
|
| Roční spotřeba el. energie v kWh | 165,71 |
| Spotřeba el. energie za 24 hod. v kWh | 0,454 |
| Třída energetické účinnosti | E |
|
Komfort při obsluze
|
|
| DynaCool | Ano |
| EasyClean | Ano |
| Filtr Active AirClean a indikace výměny | Ano |
| FullAccess | Ano |
| Panty MaxLoad | Ano |
| Push2open | Ano |
| SelfClose | Ano |
| SoftClose | Ano |
| Systém čerstvosti | MasterFresh |
|
Ovládání
|
|
| Elektronická indikace a regulace teploty | MasterSensor |
| Počet teplotních zón | 2 |
| Režim Eco | Ano |
| Režim Sabbat | Ano |
| Superchlazení | Ano |
|
Provedení
|
|
| Integrovaný vestavný přístroj | Ano |
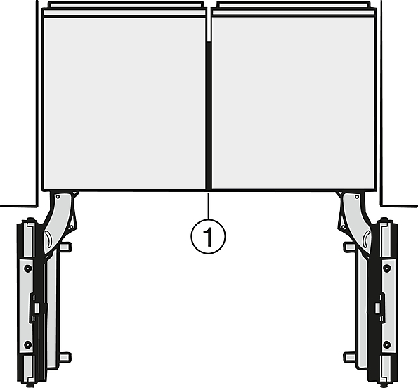
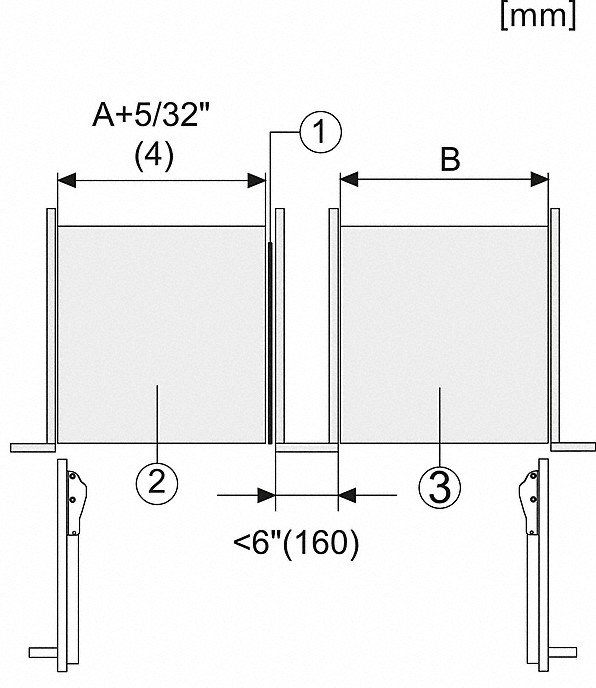
| Možnost kombinace Side-by-Side | Ano |
|
Technické údaje
|
|
| Celkový užitný objem v l | 467 |
| Délka elektrického vedení v m | 3,0 |
| Frekvence v Hz | 50 |
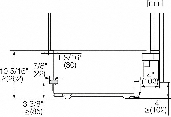
| Hloubka přístroje v mm | 610 |
| Hloubka výklenku v mm | 629 |
| Hlučnost v dB(A) re 1 pW | 40 |
| Hmotnost netto v kg | 157,5 |
| Chladicí zóna v l | 467 |
| Jištění v A | 10 |
| Klimatická třída | SN-T |
| Max. zatížení čelní strany dvířek chladicí části v kg | 27 |
| Napětí ve V | 220-240 |
| Počet fází | 1 |
| Spotřeba energie v mA | 3.000 |
| Šířka přístroje v mm | 756 |
| Šířka výklenku v mm | 762 - 765 |
| Třída hlučnosti (A-D) | C |
| Uchycení dvířek | Pevná dvířka |
| Výška přístroje v mm | 2.127 |
| Výška výklenku v mm | 2.134 - 2.164 |
| Zóna PerfectFresh v l | 69 |
Ke stažení - Vestavná chladnička MIELE K 2802 Vi MasterCool
| Popis | Formát | Stažení |
|---|---|---|
| Energetický štítek (formát PDF) | Stáhnout | |
| Energetický štítek (formát PNG) | png | Stáhnout |
| EU - Prohlášení o shodě | Stáhnout | |
| Informační list | Stáhnout | |
| Návod k použití | Stáhnout | |
| Rozměrový nákres 1 | jpg | Stáhnout |
| Rozměrový nákres 2 | jpg | Stáhnout |
| Rozměrový nákres 3 | jpg | Stáhnout |
| Rozměrový nákres 4 | jpg | Stáhnout |
| Rozměrový nákres 5 | jpg | Stáhnout |
| Rozměrový nákres 6 | jpg | Stáhnout |
| Rozměrový nákres 7 | jpg | Stáhnout |
| Rozměrový nákres 8 | jpg | Stáhnout |
| Rozměrový nákres 9 | jpg | Stáhnout |
Miele Center Vlášek
Showroom Miele najdete na adrese
Mrštíkova 2140/11 v Hradci Králové
nedaleko OC Futurum.
Proč nakoupit u nás
Jsme dlouhodobý a stabilní prodejce, již 25 let na trhu.
Dopravu a instalaci spotřebičů Miele máme po celé ČR zdarma.
Máme kamenný obchod v Hradci Králové.
Naprostou většinu zboží máme skladem.
-
Pracovní dny 9:00–18:00 Showroom Mrštíkova 2140/11, Hradec Králové
-
+420 777 922 700
(po-ne, 8:00 - 22:00) -
info@elektrovlasek.cz
Většinou odpovídáme do 2 hodin










